激光打標機適用于行業與參數性能
2021-06-17
作者:神繪激光雕刻機 閱讀:1,680 發布時間:2019-04-17
一般情況下,當用戶購買了激光切割機,激光切割機廠家都會提供培訓的服務。用戶都知道使用激光切割機很簡單的,但是還是有很多用戶反映不會調光路,很多原因是新機器買回去光路一般很少會偏,調光路用得少就比較容易忘記。
激光切割機光路調整的步驟:1、把激光電流調到8ma(50%)以下,致使激光功率不要太強。2、激光管光點與第一反光鏡片的光路調整。
把調光紙放到第一個鏡片前面,用手輕按“點射”按鍵(輕按馬上松開,能在調光紙上看到激光打出的斑點即可),看一下斑點是否落在第一個鏡片上(最好是中間),如果能打到鏡片上,即完成了這一步。如果打不到鏡片上或者是打偏了,則需要調整一下第一反光鏡架(或者激光管)的位置或者高度使之能夠達到上述標準。
第三步:第一個反射鏡片和第二個反射鏡片之間的光路調整。
首先把激光紙放到第二個鏡片的前面,把導軌移動到左上角的位置按一下點射按鍵看激光斑點的位置。然后把導軌移動到左下角同樣按一下點射按鍵,看兩個斑點(左上角與右上角)的位置是否重合。如果重合且光斑位置在鏡片以內則說明第一反射鏡片和第二反射鏡片之間的光路是正確的;如果不重合則需要通過調整第一反射鏡片后面初級反射鏡架上調整螺絲進行調整,把兩個點調到一起,然后調整初級反光鏡架的上下左右(X方向)位置使第一個反光鏡片反射的光打到第二個反光鏡上(中心)。
第二個反光鏡片和第三個反光鏡片參考上述。
由于激光切割機長期的運作摩擦,時間久了光路還是會偏,這時候我們就要好好把光路調好,不然材料就切不穿,或是切割效果不好。因為大部分激光切割機本身都是采用的飛行式光路系統,只有激光管、反射鏡架(A、B、C)及聚焦鏡和相應的調節裝置的配合才能達到理想的效果,加工出滿意的產品來,這是使用激光切割機的核心部分。
在此,我們專門整理制作了一份書面的教程供大家學習。
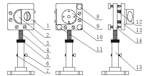
光路結構
a、反射鏡架A

1.光靶放置架2.反射鏡3.拉簧鎖緊螺絲4.調節螺桿5.調節螺母6.鎖緊螺絲
7.鎖緊螺絲b8.調節螺絲M19.反射鏡鎖緊片10.調節螺絲M11.調節螺絲M2.
12.拉簧13.反射鏡安裝板14.支撐板15.底座
b、反射鏡架B(其安裝底板與A鏡架不同外其余相同)

1.安裝底板(可左右移動)
2.鎖緊螺絲
c、反射鏡架C

1.反射鏡調整板2.反射鏡3.鎖緊螺絲4.調節螺絲M15.反射鏡調整板
6.反射鏡壓緊板7.調節螺絲M8.鎖緊螺絲9.調節螺絲M2
d、聚焦鏡

1.聚焦鏡內筒2.進氣管3.限位螺圈4.氣嘴過渡套
5.氣嘴6.鏡筒7.限位螺絲8.調節套筒
(一)光路的調整
(1)第一道光的調整
用美紋紙貼在反射鏡A的調光靶孔上,手動點動出光(注此時功率不要用太大),微調反射鏡A的底座及激光管支架,使光打在靶孔中心,注意光不能被擋;
(2)第二道光的調整
將反射鏡B移至遠程,用張硬紙板由近至遠出光,把光導進十字光靶里,因為遠程光在靶里邊則近端一定在靶里邊,接著把近端和遠程光斑調為一致,即近端怎偏,遠程也跟著怎么偏,使十字架在近端和遠程光斑中都處在同一個位置即近是(遠是)說明光路與Y軸導軌平行。
(3)第三道光的調整(注:十字架將光斑左右對分)
將反射鏡C移至遠程,把光導進光靶,在進端與遠程各打靶一次,對比十字架的位置調成跟近端光斑中十字架的位置一樣,這時表明光束與X軸平行。此時光路偏里或外,則需將鏡架B上的M1、M2、M3同松或緊,直至左右對分。
(4)第四道光的調整
用一塊美紋紙粘在出光口上,使出光孔在膠紙上留下一個圓形痕跡,點動出光,取下膠紙觀察小孔位置,視情況調節鏡架C上的M1、M2、M3直至光斑圓且正為止。
(二)焦距的測量方法:用我們激光切割機廠家配的焦距尺,將噴嘴上下升降放在焦距尺的數字5上面,此時的光是最亮最強的,然后緊鎖螺絲。
(三)以四方塊所示(如圖)

(1)切割面往左偏,激光頭太低或垂直光反射鏡太高,如圖標向D面斜,說明光偏低,二種解決方法:1、放低垂直光反射鏡C,將M1、M2、M3同時逆時針轉;2、升高激光管(順時針)。
(2)切割面往右偏,激光頭太高或垂直光反射鏡C太低,如圖標向B面斜,說明光偏高,二種解決方法:1、抬高垂直光反射鏡C,將M1、M2、M3同時順時針轉;2、降低激光管(逆時針)。
(3)切割面偏里,激光進垂直光反射鏡偏外或反射鏡座B偏外,如圖標向A面斜,說明光路偏外,二種解決方法:1、調進反射鏡座B,2、將反射鏡B上的M1、M2、M3同時調進(順時針)。
(4)切割面偏外,激光進垂直光射鏡偏里或反射鏡座B偏里,如圖標向C面斜,說明光路偏里,二種解決方法:1、調出反射鏡座B,2、將反射鏡B上的M1、M2、M3同時調出(逆時針)。
掃一掃,關注神繪激光官方微信公眾號

神繪激光:享譽全球的專業激光設備制造商,專業生產激光雕刻機、激光切割機、激光打標機,廠銷一體,4S售后。
了解如何選購激光雕刻機,詳細了解我們的產品——您可以選擇以下“三種方式”聯系我們:
① 撥打我們貼心服務熱線:0635-8533777? 或? 400-0635-668
② 在“聯系我們”(請點擊進入)頁面填寫您的采購意向,留下您的聯系方式,我們會及時與您聯系,并根據您行業和雕刻切割需求推薦適合您的激光切割方案。
③ 咨詢“在線客服”(網站右下角)為您詳細講解,了解您的需求,為您診斷這款產品是否適合您的需求。